参数资料
型号: NCL30000LED3GEVB
厂商: ON Semiconductor
文件页数: 13/22页
文件大小: 0K
描述: BOARD EVAL 17W 350MA NONDIM DVR
设计资源: NCL30000LED2GEVB Schematic
NCL30000LED2GEVB Gerber Files
NCL30000LED2GEVB Bill of Materials
标准包装: 1
电流 - 输出 / 通道: 350mA
输出及类型: 1,隔离
输出电压: 12 ~ 50 V
输入电压: 90 ~ 305VAC
已供物品:
已用 IC / 零件: NCL30000
其它名称: NCL30000LED3GEVB-ND
NCL30000LED3GEVBOS
NCL30000
V Control
COMP
MOSFET Conduction
Ct
V DD
I charge
V EAH
+
PWM
?
+
t on
I primary
Output Rectifier Conduction
0A
DRV
Ct (offset)
V Ct
V Ct(off)
V Control
V Control ? Ct (offset)
t on(max)
I secondary
0A
DRV
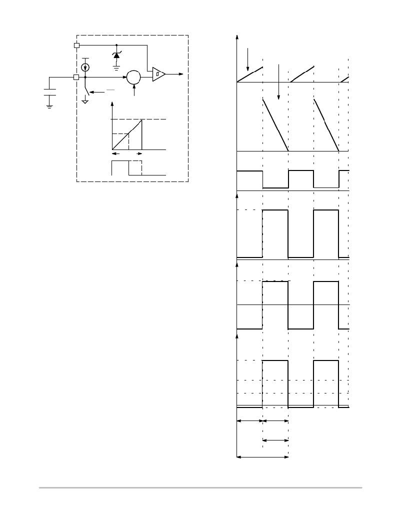
Figure 25. On Time Control
Off Time Sequence
In a fixed on-time CRM flyback converter, energy stored
in the primary of the flyback transformer varies directly with
input line voltage on a cycle-by-cycle basis. When the
switching cycle is terminated, the energy stored in the
transformer is transferred to the secondary. The auxiliary
DRV
V out
0V
winding used to provide bias to the NCL30000 is also used
to detect when the current in the secondary winding has
dropped to zero. This is illustrated in Figure 26.
V ZCD(WIND)
0V
V ZCD(WIND),off
0V
V ZCD(WIND),on
V CL(POS)
V ZCD(ARM)
V ZCD(TRIG)
V CL(NEG)
t on
t diode
0V
t off
t SW
Figure 26. Ideal CrM Waveforms with ZCD Winding
http://onsemi.com
13
相关PDF资料
PDF描述
NCL30051LEDGEVB BOARD EVAL NCL30051 LED DRIVER
NCL30100ASLDGEVB BOARD DEMO SGL LAYER PWM DIM LED
NCL30105GEVB BOARD EVAL 80V 350 FOR LED DRV
NCP1013LEDGEVB BOARD EVAL 5W UNIV LED DRIVER
NCP1028LEDGEVB EVAL BOARD FOR NCP1028LEDG
相关代理商/技术参数
参数描述
NCL30001 制造商:ONSEMI 制造商全称:ON Semiconductor 功能描述:High-Efficiency Single Stage Power Factor Correction and Step-Down Offline LED Driver
NCL30001DR2G 功能描述:LED照明驱动器 ANA PFC CONTROLLER RoHS:否 制造商:STMicroelectronics 输入电压:11.5 V to 23 V 工作频率: 最大电源电流:1.7 mA 输出电流: 最大工作温度: 安装风格:SMD/SMT 封装 / 箱体:SO-16N
NCL30001DR2G-CUT TAPE 制造商:ON 功能描述:NCL30001 Series 11.3 V Isolated Step-Down Single Stage Power Factor - SOIC-16
NCL30001LEDGEVB 功能描述:LED 照明开发工具 Programmers Development RoHS:否 制造商:Fairchild Semiconductor 产品:Evaluation Kits 用于:FL7732 核心: 电源电压:120V 系列: 封装:
NCL30002 制造商:ONSEMI 制造商全称:ON Semiconductor 功能描述:Power Factor Corrected Buck LED Driver